????????????????????????????????????????????????????????
???????????????????????????????
??????????????? ??????????????????????????????
??????????????????????????????
???????????????????
?????????????????????????????????????????????????????????
???????????????????
???????????????
??????????????????
??????????????????
?????????????????????????????????
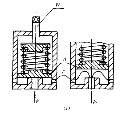
? ??安全閥又(you)稱溢(yi)流(liu)閥,是(shi)啟閉件受(shou)外(wai)力作(zuo)用(yong)下(xia)處于常(chang)閉(bi)狀(zhuang)態(tai),當(dang)設備或(huo)管道內的介質壓力(li)升高超(chao)過規(gui)定(ding)值(zhi)時(shi),通過向(xiang)系(xi)統外(wai)排(pai)放(fang)介質來(lai)防(fang)止(zhi)管(guan)道(dao)或設(she)備內(nei)介質(zhi)壓(ya)力(li)超(chao)過規定(ding)數(shu)值(zhi)的(de)特殊閥(fa)門。安(an)全(quan)閥(fa)屬(shu)于(yu)自(zi)動閥(fa)類,主要用于鍋爐、壓力(li)容(rong)器(qi)和管道上,控(kong)制壓力不(bu)超過規(gui)定值,對(dui)人身安全和設(she)備運行(xing)起(qi)重(zhong)要(yao)保(bao)護作(zuo)用。注安全(quan)閥(fa)必(bi)須(xu)經過壓力(li)試(shi)驗才能使用。
? ? 圖(tu)示為安全(quan)閥(fa)的(de)幾種典型結(jie)構(gou)形式。圖a為活塞(sai)式(shi)安全(quan)閥,閥(fa)芯是(shi)一(yi)平板。氣(qi)源(yuan)壓力作(zuo)用(yong)在活(huo)塞A上(shang),當壓(ya)力(li)超過(guo)由彈(dan)簧(huang)力確定的安(an)全(quan)值(zhi)時(shi),活塞(sai)A被(bei)頂開,一部(bu)分(fen)壓縮(suo)空(kong)氣(qi)即從(cong)閥(fa)口排入(ru)大(da)氣(qi);當(dang)氣(qi)源(yuan)壓力低于安全值(zhi)時(shi),彈簧驅動活塞下移(yi),關(guan)閉(bi)閥口(kou)。

????圖b和(he)c分別(bie)為球閥(fa)式和(he)膜(mo)片(pian)式(shi)安全閥,工作(zuo)原理(li)與(yu)活塞(sai)式完(wan)全相同。這三(san)種安(an)全閥(fa)都(dou)是彈(dan)簧提(ti)供控(kong)制(zhi)力,調節彈簧預緊(jin)力(li),即可(ke)改變(bian)安全(quan)值(zhi)大小(xiao),故稱(cheng)之為直(zhi)動式安全閥(fa)。
????
????圖(tu)d為(wei)先導(dao)式安全(quan)閥(fa),以(yi)小型(xing)直(zhi)動閥提(ti)供(gong)控制(zhi)壓力(li)作(zuo)用于膜(mo)片(pian)上(shang),膜(mo)片上硬(ying)芯(xin)就是(shi)閥(fa)芯,壓在(zai)閥座(zuo)上(shang)。當(dang)氣(qi)源壓力(li)A大于(yu)安全(quan)壓(ya)力(li)時(shi),閥芯(xin)開啟,壓(ya)縮(suo)空氣從左(zuo)側(ce)輸(shu)出(chu)孔排入(ru)大(da)氣(qi)。膜片(pian)式(shi)安全(quan)閥(fa)和先(xian)導式(shi)安全(quan)閥(fa)壓(ya)力(li)特性(xing)較(jiao)好(hao)、動(dong)作(zuo)靈(ling)敏;但(dan)*大(da)開啟(qi)力比較小(xiao),即(ji)流(liu)量特(te)性較差。實(shi)際應(ying)用(yong)時(shi),應(ying)根據實(shi)際(ji)需(xu)要選(xuan)擇安全閥(fa)的(de)類(lei)型(xing),并根(gen)據*大(da)排(pai)氣(qi)量(liang)選擇(ze)其(qi)通徑(jing)。

????????????????????????????????????????????????????????
???????????????????????????????
??????????????? ??????????????????????????????
??????????????????????????????
???????????????????
?????????????????????????????????????????????????????????
???????????????????
???????????????
??????????????????
??????????????????
?????????????????????????????????